Attention Valued Customers: AX Control will be closed on Friday 1/16 and Monday 1/19 for an Employee Appreciation Trip. Thank you for your understanding.

IS200DAMDG2AAA

    Varying star amount pictures Varying star amount pictures Varying star amount pictures Varying star amount pictures Varying star amount pictures
  • 4.94 (16)
  • Click a star to rate this product
    Varying star amount pictures Varying star amount pictures Varying star amount pictures Varying star amount pictures Varying star amount pictures
  • 4.94 (16)
  • Click a star to rate this product
The IS200DAMDG2AAA is a Gate Drive Amplifier Interface Board was made for GE Industrial Systems' Mark VI Turbine Control System Series.

AVAILABILITY:

IN STOCK
SHIPS TODAY

Sell Surplus: Have a IS200DAMDG2AAA to sell? Sell Now
Exchange Credit: Learn more about our exchange credit program
  • Part Number: IS200DAMDG2AAA
  • SKU: GBTC-16159
  • Manufacturer: GE Boards & Turbine Control
  • Series: Mark VI IS200

IS200DAMDG2AAA Technical Specifications

Original Manufacturer GE Industrial Systems
Series Innovation Series
Functional Part Number IS200DAMDG2AAA
Product Type Gate Drive Amplifier/Interface Board
Instruction Manual GEI-100262A
Revision Total 3 Revisions
Backwards-Compatibility 1st two revisions

Frequently Asked Questions about IS200DAMDG2AAA

How many total IS200DAMDG2AAA Gate Drive Amplifier Interface Board devices are used in a typical innovation series drive?

There are a total of Qty 3 IS200DAMDG2AAA used in a drive (1 per phase leg).

How does the IS200DAMDG2 PCB product version differ from the DAMA, DAMB, DAMC, and DAME versions of the Gate Drive Amplifier Interface Board?

The IS200DAMDG2A version has a frame of 125 or 92 while the other versions have different values. Additionally, the powerrex IGBT used is the CM200DY-28H as opposed to the other board versions.

About the IS200DAMDG2AAA

This IS200DAMDG2AAA Gate Drive Amplifier Interface Board printed circuit board product offering from General Electric was originally designed and manufactured specifically with a functional placement in the greater Mark VI Turbine Control System Series in mind. The Mark VI Series that this IS200DAMDG2AAA Gate Drive Amplifier Interface Board product belongs to, as you may have been able to deduce based off of its full extended GE Mark product series title, exists with a specific set of possible functional applications in the management and control systems of General Electric-compatible gas, steam, and wind turbine automated drive assemblies. This must be treated as quite the notable functional upgrade from the previously-released Mark V Turbine Control System Series of a similar full extended series name, as the Mark VI Series of a similar full extended product series title was developed specifically with the additional wind turbine possible functional environment.

Hardware Tips and Specifications

The IS200DAMDG2AAA is a device which is known as a gate drive amplifier and interface board. These boards are used to interface between the control rack and power switching devices or IGBTs in Innovation Series low voltage drives. The IS200DAMDG2AAA is a device in the Mark VI series by General Electric. Mark VI is one of several series which make up the Mark family of devices by GE. The IS200DAMDG2AAA features a power rating of either 92 frames or 125 frames. This specific IS200DAMDG2AAA style of Mark VI Series printed circuit board product offering is actually not the originally-developed product of its specific General Electric Mark VI Series functionality, as that would have to be deemed the IS200DAMDG2 parent PCB product notably not utilizing this IS200DAMDG2AAA PCB's three-fold extensive product revision history. Some of the other relevant IS200DAMDG2AAA Board qualities only made apparent through a diligent guided analysis of its IS200DAMDG2AAA functional product number include its:

  • DAMD functional product abbreviation
  • Group 2 Mark VI Series product grouping
  • Normal PCB coating style
  • Normal Mark VI Series assembly
  • Domestic original manufactured location

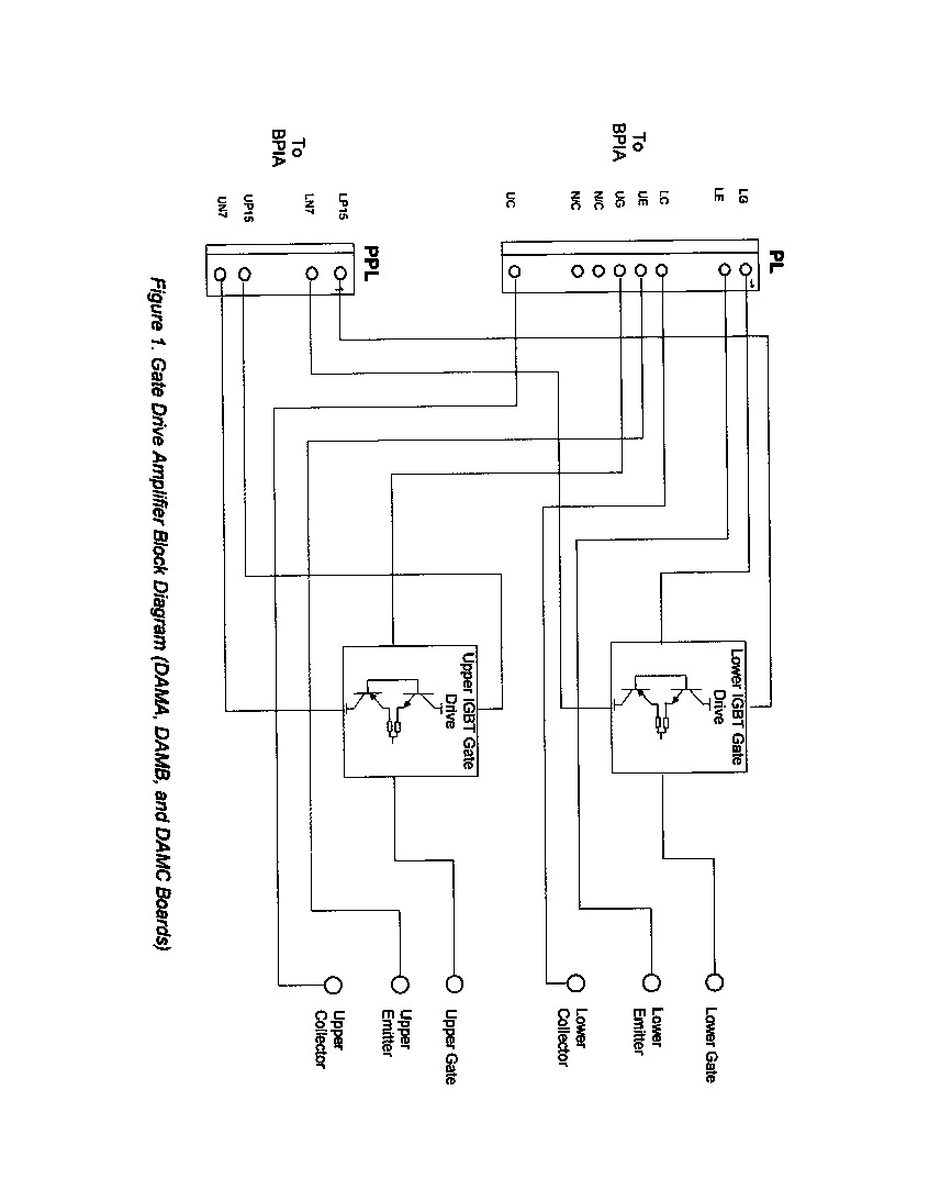
These devices have light-emitting diodes or LEDs. These LEDs let the user know whether the IGBT is turned off or on. The DAMDG2 is one of six (6) variations of gate drive boards named DAMC, DAMA, DAMB, DAMDG1, DAMDG2, and DAME. The boards in the DAM series are used when attaching bridge personality interfaces boards, emitters, IGBT gates, and collector terminals. These DAM boards don’t contain test points, fuses, or configurable parts. DAMD boards interface between devices without amplifying. These boards do not have any power input. The IS200DAMDG2AAA features four light-emitting diodes or IGBT driver monitors named 2FF, 2ON, 1FF, and 1ON. 2FF and 1FF are green and 2ON and 1ON are yellow. The IS200DAMDG2AAA also contains twelve (12) pins or IGBT connections which are called C1, G1IN, COM1, C2, NC, COM2, and G2IN. The IS200DAMDG2AAA and other DAMD cards like it are shaped like the letter C. A large resistor with a small knob is situated on the left side of the IS200DAMDG2AAA. This resistor is long and rectangular and positioned parallel to the left edge.

Reviews For IS200DAMDG2AAA

Internal Review
(5.0)

This specific IS200DAMDG2AAA printed circuit board product offering from General Electric is definable as a Gate Drive Amplifier/Interface Board, despite this official functional product descriptions' inherent mismatching with the also-correct DAMD functional product abbreviation. This IS200DAMDG2AAA device is protected by three seemingly-identical A-rated product revisions, although the first two of these revisions are specifically functional styles of Mark VI Series revisions and the third exists particularly as an artwork configuration-minded significant product revision. - AX Control Lead Technician

Repair Services For IS200DAMDG2AAA

Type Lead Time Price Action
Repair Service 1-2 weeks $699

Our highly skilled technicians can repair your IS200DAMDG2AAA. All of our repairs come with a 3 Year AX Control Warranty. Please contact us for additional information about our repair process. To receive the repair pricing and lead time listed above please process your repair order via our website. The following repair options may be available upon request:

  • 48-72hr Rush Repair
  • Detailed Repair Reports
  • AX Control Certificate of Warranty

AX Control Warranty Info

All products we sell are backed by our unparalleled warranty. A warranty certificate will be provided with your order upon request.
All PLCs, HMIs, and Turbine Control Boards: 3 Years
All AC/DC and Servo Drives: 2 Years
All Motors: 1 Year
Learn More

You may also like...

Similar Product

IS200DAMDG2A

Mark VI IS200
GE Boards & Turbine Control
Similar Product

IS200DAMDG1A

Mark VI IS200
GE Boards & Turbine Control
Similar Product

IS200DAMAG1A

Mark VI IS200
GE Boards & Turbine Control
Similar Product

IS200DAMAG1ACA

Mark VI IS200
GE Boards & Turbine Control