IS200DAMBG1A

    Varying star amount pictures Varying star amount pictures Varying star amount pictures Varying star amount pictures Varying star amount pictures
  • 5.00 (3)
  • Click a star to rate this product
    Varying star amount pictures Varying star amount pictures Varying star amount pictures Varying star amount pictures Varying star amount pictures
  • 5.00 (3)
  • Click a star to rate this product
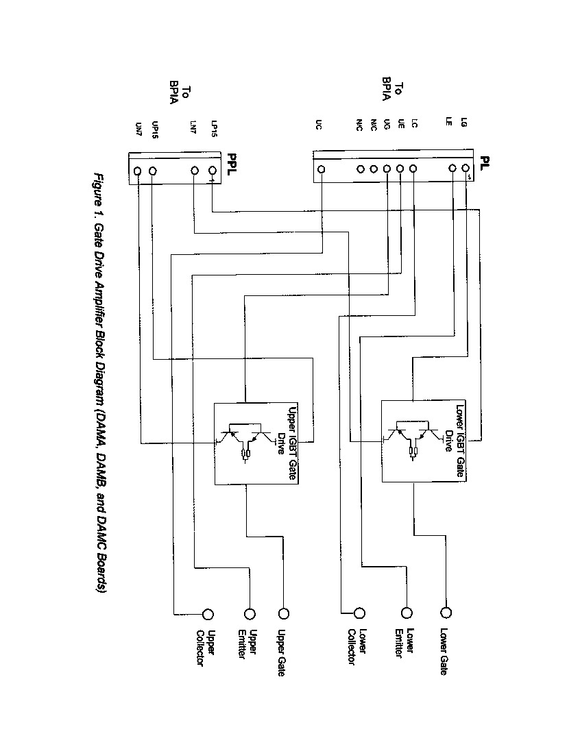
GE Mark VI Board IS200DAMBG1A

AVAILABILITY:

IN STOCK
SHIPS TODAY

Sell Surplus: Have a IS200DAMBG1A to sell? Sell Now
Exchange Credit: Learn more about our exchange credit program
  • Part Number: IS200DAMBG1A
  • SKU: GBTC-14517
  • Manufacturer: GE Boards & Turbine Control
  • Series: Mark VI IS200

About the IS200DAMBG1A

The IS200DAMBG1A was made as a component in the Speedtronic Mark VI series by General Electric or GE. The Mark VI is one of several series in GE’s Mark line. This device is a type of printed circuit board or PCB. The IS200DAMBG1A is what is called a gate driver card.

The IS200DAMBG1A is a rectangular circuit board which is small in size. This circuit card has a number of small components located on either side and a few situated in the center. Four large silver components which are made of metal are positioned on the IS200DAMBG1A. Two (2) of these are on the left half and the other two (2) are on the right. A collection of eight (8) capacitors which are solid yellow and round are situated on the IS200DAMBG1A. They are divided into two (2) groups of four (4) capacitors each. These groups are arranged in square formations. Each of these squares has two (2) grey resistors in the center. Many other resistors which are smaller in size but covered in bands that are red, black and yellow can be found on various places on the IS200DAMBG1A. Four light-emitting diodes or LEDs are featured on the IS200DAMBG1A. Two (2) of the LEDs are blue and two (2) of them are yellow. These LEDs are small in size. On each side of the IS200DAMBG1A, two (2) light-emitting diodes are paired together, one of each color. Near the top left corner of the IS200DAMBG1A, two (2) small integrated circuits are placed paired together. In the center of the IS200DAMBG1A, there are two (2) long white components.

Repair Services For IS200DAMBG1A

Type Lead Time Price Action
Repair Service 1-2 weeks $744

Our highly skilled technicians can repair your IS200DAMBG1A. All of our repairs come with a 3 Year AX Control Warranty. Please contact us for additional information about our repair process. To receive the repair pricing and lead time listed above please process your repair order via our website. The following repair options may be available upon request:

  • 48-72hr Rush Repair
  • Detailed Repair Reports
  • AX Control Certificate of Warranty

AX Control Warranty Info

All products we sell are backed by our unparalleled warranty. A warranty certificate will be provided with your order upon request.
All PLCs, HMIs, and Turbine Control Boards: 3 Years
All AC/DC and Servo Drives: 2 Years
All Motors: 1 Year
Learn More

You may also like...

Similar Product

IS200DAMBG1ABB

Mark VI IS200
GE Boards & Turbine Control
Similar Product

IS200DAMBG1ACB

EX2100 & EX2100e Excitation Control
GE Boards & Turbine Control
Similar Product

IS200DAMAG1A

Mark VI IS200
GE Boards & Turbine Control
Similar Product

IS200DAMAG1ACA

Mark VI IS200
GE Boards & Turbine Control