DS200GDPAG1

    Varying star amount pictures Varying star amount pictures Varying star amount pictures Varying star amount pictures Varying star amount pictures
  • 4.93 (14)
  • Click a star to rate this product
    Varying star amount pictures Varying star amount pictures Varying star amount pictures Varying star amount pictures Varying star amount pictures
  • 4.93 (14)
  • Click a star to rate this product
The DS200GDPAG1 High Frequency Power Supply Board

AVAILABILITY:

IN STOCK
SHIPS TODAY

Sell Surplus: Have a DS200GDPAG1 to sell? Sell Now
Exchange Credit: Learn more about our exchange credit program
  • Part Number: DS200GDPAG1
  • SKU: GBTC-11336
  • Manufacturer: GE Boards & Turbine Control
  • Series: Mark V DS200

DS200GDPAG1 Technical Specifications

Manufacturer GE General Electric
Series Mark V
Part Number DS200GDPAG1
Product Type High Frequency Power Supply Board
Instruction Manual GEI-100287
Revision Quantity 0 Revisions
Functional Abbreviation GDPA

About the DS200GDPAG1

The General Electric DS200GDPAG1 is a high frequency power supply board. A member of the Mark V series of GE boards, this 600 to 700 W board can be used across a variety of drive and exciter systems. Boards such as this can accept and input power supplies from both AC and DC sources, expanding the board’s applications.

This DS200GDPAG1 product offering's greater Mark V Series is also one of the final General Electric Mark product series to incorporate the patented Speedtronic control system technology into its various offerings.

This DS200GDPAG1 High Frequency Power Supply Board is the originally-developed product of its specific Mark V Series functional role, as proven by its DS200GDPAG1 functional product number's possession of no trailing revision--indicating alphanumeric digits.


Hardware Tips and Specifications

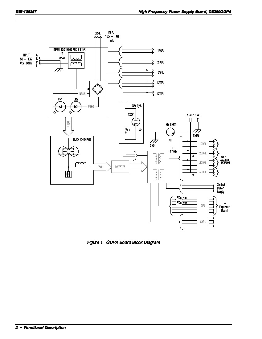
DS200GDPAG1 includes a number of integrated features to produce the best user experience. Included on the board are:

  • an input rectifier and filter
  • a regulator
  • a 27 kHz inverter
  • a 50 VAC output transformer
  • 120 VDC power supply
  • a control power supply
  • control signal level circuits
  • protective circuits

When inputting AC power to the drive, sourced inputs can range from 80 to 132 VAC. DC inputs to the board can measure from 105 to 140 VDC. Inputs and outputs on the board are isolated, preventing any interruptions. Board status is presented to users using the four LED and two neon indicators found on board. In addition to the various integrated circuits described in this DS200GDPAG1 product's original instructional documentation, this DS200GDPAG1 PCB is accompanied by a series of three well-defined fuses. The fuses in the assembly of this DS200GDPAG1 High Frequency Power Supply Board include:

  • The F1 104X109AD 15 Amp 600V Current-Limiting Fuse
  • The F2 573A392P6 .25A 250V Fuse
  • The F3 573A392P12 1.5A 250V Fuse

Generally, this DS200GDPAG1 printed circuit board product offering is to be treated as a static-sensitive module of General Electric Mark V Series PCB to be powered down before attempting any installation or replacement. In installation, General Electric describes two different potential mounting strategies that can be adopted by this DS200GDPAG1 product; this DS200GDPAG1 PCB can be either directly mounted on the Mark V Series automated drive assembly drive mounting plate, or it can be mounted directly into the Mark V Series drive cabinet assembly. Members of the Mark V series of boards were originally provided technical support by the manufacturer, General Electric. 

Our knowledgeable staff at AX Control is happy to help with all of your automation needs. Please contact a member of our sales team to receive current prices and availabilities on DS200GDPAG1 as well as other parts and repairs.


Frequently Asked Questions about DS200GDPAG1

What does the control on DS200GDPAG1 do?
The power width module (PWM) control on DS200GDPAG1 provides frequency reference for all operation, output voltage regulation, and control signals to the regulator.
What is the AC input range on DS200GDPAG1?
DS200GDPAG1 has an AC input range of 80-132 VAC when DS200GDPAG1 is at 28-66 Hz.
Where does control power come from for DS200GDPAG1?
Control power for DS200GDPAG1 is provided by the 15V bus (P15).
What manual goes with DS200GDPAG1?
The manual that goes with DS200GDPAG1 is Manual GEI-100287- The GE Industrial Systems High Frequency Power Supply Board Manual. Although this manual for DS200GDPAG1 does not cover all details of DS200GDPAG1 installation, operation, and maintenance, the manual provides a lot of helpful information on DS200GDPAG1.

Reviews For DS200GDPAG1

Internal Review
(5.0)

This board is a high-frequency power supply board. It can draw input from AC and DC sources. It is built with an input rectifier and filter, a regulator, an inverter, an output transformer, two power supplies, and protective circuits. For full information about this board, refer to GE manuals and user guides, although these are generally unavailable due to this DS200GDPAG1 product's legacy series placement. This DS200GDPAG1 PCB is available here today for both repair and replacement, with warrantied protection upon any purchase. - AX Control Lead Technician

Repair Services For DS200GDPAG1

Type Lead Time Price Action
Repair Service 1-2 weeks $365

Our highly skilled technicians can repair your DS200GDPAG1. All of our repairs come with a 3 Year AX Control Warranty. Please contact us for additional information about our repair process. To receive the repair pricing and lead time listed above please process your repair order via our website. The following repair options may be available upon request:

  • 48-72hr Rush Repair
  • Detailed Repair Reports
  • AX Control Certificate of Warranty

AX Control Warranty Info

All products we sell are backed by our unparalleled warranty. A warranty certificate will be provided with your order upon request.
All PLCs, HMIs, and Turbine Control Boards: 3 Years
All AC/DC and Servo Drives: 2 Years
All Motors: 1 Year
Learn More